Product Summary
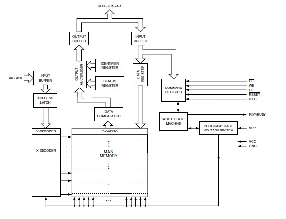
The AT49BV322AT-70TI is a 2.7-volt 32-megabit Flash memory organized as 2,097,152 words of 16 bits each or 4,194,304 bytes of 8 bits each. The x16 data appears on I/O0 - I/O15; the x8 data appears on I/O0 - I/O7. The AT49BV322AT-70TI is divided into 71 sectors for erase operations. The device is offered in a 48-lead TSOP and a 48-ball CBGA package. The AT49BV322AT-70TI has CE and OE control signals to avoid any bus contention. This device can be read or reprogrammed using a single power supply, making it ideally suited for in-system programming.
Parametrics
AT49BV322AT-70TI absolute maximum ratings: (1) Storage Temperature: -65°C to +150°C; (2) All Input Voltages (including NC Pins) with Respect to Ground:-0.6V to +6.25V; (3) All Output Voltages with Respect to Ground:-0.6V to VCC + 0.6V; (4) Voltage on VPP with Respect to Ground: -0.6V to +13.0V; (5) Temperature under Bias: -55°C to +125°C.
Features
AT49BV322AT-70TI features: (1) Single Voltage Read/Write Operation: 2.65V to 3.6V; (2) Access Time 70 ns; (3) Sector Erase Architecture: Sixty-three 32K Word (64K Bytes) Sectors with Individual Write Lockout, Eight 4K Word (8K Bytes) Sectors with Individual Write Lockout; (4) Fast Word Program Time 12μs; (5) Fast Sector Erase Time 300 ms; (6) Suspend/Resume Feature for Erase and Program: Supports Reading and Programming from Any Sector by Suspending Erase of a Different Sector, Supports Reading Any Byte/Word in the Non-suspending Sectors by Suspending Programming of Any Other Byte/Word; (7) Low-power Operation: 12 mA Active, 13 μA Standby; (8) Data Polling, Toggle Bit, Ready/Busy for End of Program Detection; (9) VPP Pin for Write Protection; (10) RESET Input for Device Initialization; (11) Sector Lockdown Support; (12) TSOP and CBGA Package Options; (13) Top or Bottom Boot Block Configuration Available; (14) 128-bit Protection Register; (15) Minimum 100,000 Erase Cycles; (16) Common Flash Interface (CFI).
Diagrams

| Image | Part No | Mfg | Description | ![]() |
Pricing (USD) |
Quantity | ||||||||||||
|---|---|---|---|---|---|---|---|---|---|---|---|---|---|---|---|---|---|---|
![]() |
![]() AT49BV322AT-70TI |
![]() Atmel |
![]() Flash 32M (2Mx16) |
![]() Data Sheet |
![]() Negotiable |
|
||||||||||||
| Image | Part No | Mfg | Description | ![]() |
Pricing (USD) |
Quantity | ||||||||||||
![]() |
![]() AT490JB |
![]() NKK Switches |
![]() Switch Hardware RND CLR/WH CAP LED |
![]() Data Sheet |
![]() Negotiable |
|
||||||||||||
![]() |
![]() AT490JC |
![]() NKK Switches |
![]() Switch Hardware RND CLR/RED CAP LED |
![]() Data Sheet |
![]() Negotiable |
|
||||||||||||
![]() |
![]() AT490JD |
![]() NKK Switches |
![]() Switch Hardware RND CLR/AMBR CAP LED |
![]() Data Sheet |
![]() Negotiable |
|
||||||||||||
![]() |
![]() AT490JE |
![]() NKK Switches |
![]() Switch Hardware RND CLR/YLW CAP LED |
![]() Data Sheet |
![]()
|
|
||||||||||||
![]() |
![]() AT490JF |
![]() NKK Switches |
![]() Switch Hardware RND CLR/GRN CAP LED |
![]() Data Sheet |
![]() Negotiable |
|
||||||||||||
![]() |
![]() AT494 |
![]() NKK Switches |
![]() Switch Hardware PROTECTIVE GUARD KB |
![]() Data Sheet |
![]()
|
|
||||||||||||
(China (Mainland))














