Product Summary
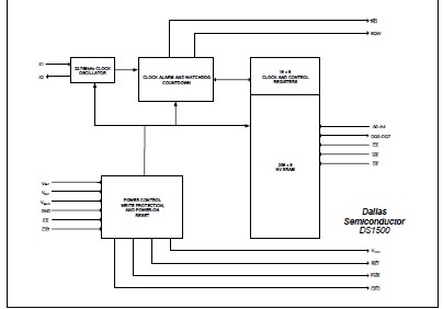
The DS1500WEN is a Y2K watchdog RTC with an alarm, watchdog timer, power-on reset, battery monitors, 256 bytes of on-board nonvolatile (NV) SRAM, NV control for backing up an external SRAM, and a 32.768kHz output. User access to all registers within the DS1500WEN is accomplished with a byte-wide interface, as shown in Figure 7. The DS1500WEN registers contain century, year, month, date, day, hours, minutes, and seconds data in 24-hour binary-coded decimal (BCD) format. Corrections for day of month and leap year are made automatically.
Parametrics
DS1500WEN absolute maximum ratings: (1)Voltage Range on Any Pin Relative to Ground: -0.5V to +6.0V; (2)Operating Temperature Range: -40°C to +85°C (Note 1); (3)Storage Temperature Range: -55°C to +125°C; (4)Soldering Temperature: See IPC/JEDEC J-STD-020 Specification.
Features
DS1500WEN features: (1) Programmable Watchdog Timer and RTC Alarm; (2) Century Register; Y2K-Compliant RTC; (3) Automatic Battery Backup and Write Protection to External SRAM; (4) +5V Operation; (5) Precision Power-On Reset; (6) Power-Control Circuitry Supports System Power-On from Date/Day/Time Alarm or Key Closure; (7) 256 Bytes User NV RAM; (8) Auxiliary Battery Input; (9) Accuracy Better than ±1 Minute/Month at +25°C; (10) Day-of-Week/Date Alarm Register; (11) Battery Voltage-Level Indicator Flags; (12) Industrial Temperature Range: -40°C to +85°C.
Diagrams

| Image | Part No | Mfg | Description | ![]() |
Pricing (USD) |
Quantity | ||||||||||||
|---|---|---|---|---|---|---|---|---|---|---|---|---|---|---|---|---|---|---|
![]() |
![]() DS1500WEN |
![]() |
![]() IC RTC Y2KC W/NV CTRL 32-TSOP |
![]() Data Sheet |
![]() Negotiable |
|
||||||||||||
![]() |
![]() DS1500WEN+ |
![]() Maxim Integrated Products |
![]() Real Time Clock Y2K-Compliant Watchdog |
![]() Data Sheet |
![]()
|
|
||||||||||||
(China (Mainland))










