Product Summary
The ALXD800EEXJCVD is an AMD geode LX processor. It is specifically designed to power embedded devices for entertainment, education, and business. Serving the needs of consumers and business professionals alike, it is an excellent solution for embedded applications, such as thin clients, interactivce set-top boxes.
Features
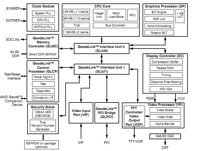
ALXD800EEXJCVD features: (1)compatible CPU core; (2)processor frequency: up to 600MHz; (3)split I/D cache/TLB; (4)geodelink control processor; (5)dual geodelink interface units for device interconnect; (6)efficient prefetch and branch prediction.
Diagrams

(China (Mainland))






